| Stato di disponibilità: | |
|---|---|
| Quantità: | |
DF-192
HEE
Fusione in acciaio 6 'zeppa
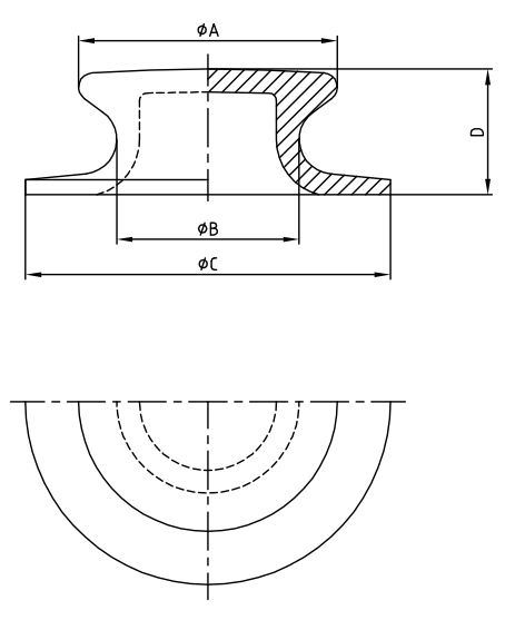
| Modello n. | Φa | Φb | Φc | D | Wt. (LBS) |
| DF-192 | 8 1/2 ' | 6 ' | 12 ' | 4 1/8 ' | 40 |
Il pieno zeppo di pulsanti marittimi in acciaio rappresenta una soluzione ottimizzata per la guida della corda e la distribuzione del carico in applicazioni di ormeggio di medio servizio, bilanciando le prestazioni con il design compatto. Poiché le navi costiere e le barche di lavoro richiedono attrezzature di ormeggio affidabili che riducono il minimo dello spazio del ponte mantenendo la sicurezza, questo zeppo di pulsanti offre funzionalità eccezionali in un pacchetto efficiente dal punto di vista spazio. Costruito da ASTM A27 Cash Steel con un carico di lavoro sicuro (SWL) di 600 kN (61 tonnellate), presenta una configurazione a 6 pulsanti disposta in un modello circolare per distribuire uniformemente la pressione della corda. Misurando 18 pollici di diametro con un profilo da 3 pollici, il zeppa ospita diametri di corda da 30 mm a 60 mm, rendendolo ideale per rimorchiatori, traghetti e navi da fornitura offshore che operano nei corsi d'acqua costieri e interni.
I sei pulsanti in acciaio induriti (diametro da 3 pollici ciascuno) sono posizionati strategicamente in uno schema esagonale per creare punti di pressione uniforme attraverso la superficie della corda. Questa configurazione riduce lo stress localizzato sulle linee di ormeggio del 40% rispetto ai progetti a 2 bottoni, estendendo la durata della corda. Ogni pulsante ruota in modo indipendente per ridurre al minimo l'attrito durante il movimento della corda.
Il corpo in acciaio fuso monopezzo presenta costole di rinforzo integrali che aumentano la rigidità senza peso eccessivo (peso totale di 120 kg). La gola a corda di diametro da 10 pollici presenta una superficie liscia e radiosa con un rapporto di piega 12: 1 ottimizzato per le linee di ormeggio sintetiche. La flangia di base comprende otto fori di montaggio equidistanti per l'attacco sicuro a varie superfici del ponte.
Il Chock subisce zincazioni industriali (spessore minimo di 85 μm) per standard ASTM A123, seguito da un topcoat epossidico di livello marino in aree critiche. Questo sistema a doppia protezione fornisce oltre 1.200 ore di resistenza a spruzzo salino, adatti sia per gli ambienti di acqua salata che di acqua dolce. Tutti i punti di perno dei pulsanti utilizzano 316 perni in acciaio inossidabile per prevenire il sequestro indotto dalla corrosione.
I molteplici punti di contatto distribuiscono il carico su una superficie di corda più grande, riducendo le concentrazioni di sollecitazione localizzate che causano un guasto prematuro della corda. Questo design riduce al minimo lo allungamento della corda e la fatica, estendendo la durata di servizio fino al 50% rispetto ai cocchi a button singolo.
Il design compatto lo rende ideale per le barche per , traghetti , costiere e navi offshore in cui lo spazio del ponte è limitato ma le prestazioni di ormeggio affidabili sono fondamentali. La sua capacità di medio servizio corrisponde ai requisiti delle navi che operano in acque riparate e vicine.
Mentre gli istalli chiusi offrono il massimo contenimento della corda, il pieno zeppo di bottoni offre una flessibilità di movimentazione della corda superiore e un più facile accesso alla manutenzione. Il design aperto consente l'ispezione visiva delle condizioni della corda durante il funzionamento e semplifica la pulizia dei detriti dal percorso della corda.
Le ispezioni mensili dovrebbero verificare la rotazione dei pulsanti, la corrosione e i motivi di usura della corda. I pulsanti devono essere lubrificati trimestralmente con grasso di livello marino e l'hardware di montaggio verificato per la coppia. L'ispezione annuale include l'usura del pulsante di misurazione (riduzione massima di 2 mm di diametro).
Sì, è conforme all'ISO 13713 per i raccordi per ormeggio ed è certificato da società di classificazione tra cui ABS e LR. Il design soddisfa i requisiti di SOLAS per le navi che operano nelle acque costiere e quasi oceaniche.
Fusione in acciaio 6 'zeppa
| Modello n. | Φa | Φb | Φc | D | Wt. (LBS) |
| DF-192 | 8 1/2 ' | 6 ' | 12 ' | 4 1/8 ' | 40 |
Il pieno zeppo di pulsanti marittimi in acciaio rappresenta una soluzione ottimizzata per la guida della corda e la distribuzione del carico in applicazioni di ormeggio di medio servizio, bilanciando le prestazioni con il design compatto. Poiché le navi costiere e le barche di lavoro richiedono attrezzature di ormeggio affidabili che riducono il minimo dello spazio del ponte mantenendo la sicurezza, questo zeppo di pulsanti offre funzionalità eccezionali in un pacchetto efficiente dal punto di vista spazio. Costruito da ASTM A27 Cash Steel con un carico di lavoro sicuro (SWL) di 600 kN (61 tonnellate), presenta una configurazione a 6 pulsanti disposta in un modello circolare per distribuire uniformemente la pressione della corda. Misurando 18 pollici di diametro con un profilo da 3 pollici, il zeppa ospita diametri di corda da 30 mm a 60 mm, rendendolo ideale per rimorchiatori, traghetti e navi da fornitura offshore che operano nei corsi d'acqua costieri e interni.
I sei pulsanti in acciaio induriti (diametro da 3 pollici ciascuno) sono posizionati strategicamente in uno schema esagonale per creare punti di pressione uniforme attraverso la superficie della corda. Questa configurazione riduce lo stress localizzato sulle linee di ormeggio del 40% rispetto ai progetti a 2 bottoni, estendendo la durata della corda. Ogni pulsante ruota in modo indipendente per ridurre al minimo l'attrito durante il movimento della corda.
Il corpo in acciaio fuso monopezzo presenta costole di rinforzo integrali che aumentano la rigidità senza peso eccessivo (peso totale di 120 kg). La gola a corda di diametro da 10 pollici presenta una superficie liscia e radiosa con un rapporto di piega 12: 1 ottimizzato per le linee di ormeggio sintetiche. La flangia di base comprende otto fori di montaggio equidistanti per l'attacco sicuro a varie superfici del ponte.
Il Chock subisce zincazioni industriali (spessore minimo di 85 μm) per standard ASTM A123, seguito da un topcoat epossidico di livello marino in aree critiche. Questo sistema a doppia protezione fornisce oltre 1.200 ore di resistenza a spruzzo salino, adatti sia per gli ambienti di acqua salata che di acqua dolce. Tutti i punti di perno dei pulsanti utilizzano 316 perni in acciaio inossidabile per prevenire il sequestro indotto dalla corrosione.
I molteplici punti di contatto distribuiscono il carico su una superficie di corda più grande, riducendo le concentrazioni di sollecitazione localizzate che causano un guasto prematuro della corda. Questo design riduce al minimo lo allungamento della corda e la fatica, estendendo la durata di servizio fino al 50% rispetto ai cocchi a button singolo.
Il design compatto lo rende ideale per le barche per , traghetti , costiere e navi offshore in cui lo spazio del ponte è limitato ma le prestazioni di ormeggio affidabili sono fondamentali. La sua capacità di medio servizio corrisponde ai requisiti delle navi che operano in acque riparate e vicine.
Mentre gli istalli chiusi offrono il massimo contenimento della corda, il pieno zeppo di bottoni offre una flessibilità di movimentazione della corda superiore e un più facile accesso alla manutenzione. Il design aperto consente l'ispezione visiva delle condizioni della corda durante il funzionamento e semplifica la pulizia dei detriti dal percorso della corda.
Le ispezioni mensili dovrebbero verificare la rotazione dei pulsanti, la corrosione e i motivi di usura della corda. I pulsanti devono essere lubrificati trimestralmente con grasso di livello marino e l'hardware di montaggio verificato per la coppia. L'ispezione annuale include l'usura del pulsante di misurazione (riduzione massima di 2 mm di diametro).
Sì, è conforme all'ISO 13713 per i raccordi per ormeggio ed è certificato da società di classificazione tra cui ABS e LR. Il design soddisfa i requisiti di SOLAS per le navi che operano nelle acque costiere e quasi oceaniche.
IL DF-274-5 2 Dog Allevatore a tenuta stagna è un raccordo premium marine ingegnerizzato da HEE (Changshu Haichuan Engineering & Equipment Co., Ltd.), un produttore leader con sede in Cina specializzato in attrezzature marine e offshore. Progettato per affrontare la necessità critica di resistenza all'acqua affidabile in ambienti marini aspri, questo portello funge da barriera protettiva per aperture del ponte, prevenzione dell'ingresso di acqua, accumulo di polvere e corrosione che potrebbe danneggiare i componenti interni di vasi, piattaforme offshore o infrastrutture a porte.